弹簧支吊架、管道支吊架 弹簧支吊架、管道支吊架
支吊架系列
弹簧支吊架
恒力弹簧支吊架
可变碟簧支吊架
恒力碟簧支吊架
组合型碟簧支吊架
支座装置
支座装置
D2-3/4滚动支座
风门防爆门
调节挡板风门
圆、方风门
关闭挡板风门
防爆门
管道连接件
管道连接件
管夹
分离器
自转式木屑分离器
SC-SMF、DMF系列木块分离器
其他
孔类
球式锁气器
煤粉混合器
联系人:杨经理
电 话:0515-82330633
传 真:0515-82309335
商 务QQ: 2582355619
手 机:13813216008
邮 箱:2582355619@qq.com
当前位置:首页 >> 产品展示

关闭挡板风门

[收藏本页] [打印本页] [关闭窗口]
详细说明:关闭挡板风门
关闭挡板风门
功能
   用于截流切断锅炉烟、风道系统中介质,具有全开和全关两大功能,一般不用来调节介质流量与压头。

安装位置
   空气预热器的烟气与空气仓的进口和出口管道,除尘器和引风机的进口与出口烟道,送风机与一次风道的吸风道与出口风道,以及磨煤机进口前的一、二次风道中。

结构设计
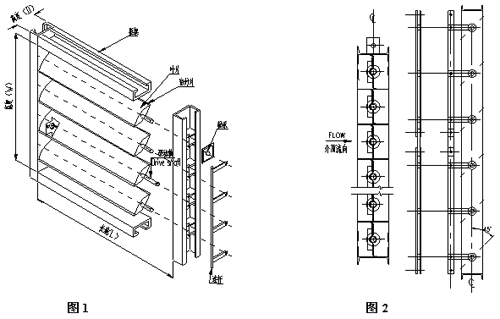
   采用薄板冲压整体焊接结构,由外部框架、挡板叶片、密封片、前后轴承、连动系统及驱动器六部分组成(见图1)。框架与挡板均具有足够的弹性与刚度。沿框架内侧四周及挡板中间镶有0.6~1㎜厚的弹性密封片,受风门两侧气流的压差密封。挡板前轴承采用调心轴承并具有自动润滑作用。各挡板轴穿出框架后有连接件连接,并由其中一根驱动连接驱动装置作90℃方位的全开与全闭转动(见图2)。框架翼面与烟风道接口框架或法兰面接触后四周焊接,小截面风门亦可用螺栓连接。

性能要求
   结构轻巧,运行时启闭转动灵活,驱动力矩小,特别是在热膨胀情况下能灵活转动、严密性好和能承受管路中的工作压力与温度。

关闭严密性审核
   ◆ 泄漏面积百分比:挡板与框架间的缝隙面积与框架内周面积之比。
   ◆ 实际泄漏量(m3/min):用泄漏面积百分比表示的泄漏量,其与风门上、下游的压差密切相关,故其值只能作估计用,不能作定量审核指标。作定量审核时,必须采用实际泄漏量。

产品及应用
版权所有:Copyright © 2016 盐城市鲲鹏电力设备制造有限公司 All rights reserved 网站地图
地址:盐城市临海工业园 电话:0515-82330633 手机:13813216008
本站关键词:弹簧支吊架 管道支吊架 恒力弹簧支吊架
苏ICP备11062858号 苏公网安备32092402000394号